Ванная полуавтоматическая сварка арматуры под флюсом
Сварка арматуры с применением техники ванной полуавтоматической сварки горизонтальных арматурных стержней выполняется с помощью дополнительных технологических элементов: разъемных форм или съемных подкладок (стальных, медных, графитовых). Наиболее благоприятные условия кристаллизации металла шва создаются в медных и графитовых формующих устройствах, что позволяет получить металл шва с высокими показателями механических свойств.
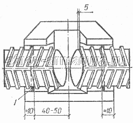
Формующие устройства устанавливают симметрично зазору между торцами стыкуемых стержней арматуры (рис. 1). На расстоянии 40—50 мм от вертикальной оси стыка на стержни накладывают 2—3 витка шнурового асбеста для плотного примыкания арматуры к форме. Затем в плавильное пространство засыпают 20—30 г флюса. Если используют медные формы, то до их установки флюс засыпают на дно формы слоем в 5—7 мм. Такая мера позволяет усилить сварной шов в нижней части стыка.
![]() |
![]() |
| Рис. 1. Установка разъемных форм и медной подкладки на свариваемые стержни при ванной сварке арматуры |
| 1— шпуровой асбест; 2 — флюс; 3 — центрирующая рамка — указатель границ плавильного пространства |
Возбуждают сварочную дугу, касаясь концом проволоки нижней кромки торца арматурного стержня. Проплавление нижней части торца стержня происходит при колебательных движениях проволоки поперек оси стержней в течение 5—15 с. Затем аналогичную операцию проплавления выполняют со вторым стержнем. Схемы перемещения конца электродной проволоки во время сварки арматуры при заполнении ванны жидким металлом показаны на рис. 2. При сварке арматуры диаметром 45 мм и более можно использовать присадку в виде металлической крупки, опилок, рубленой проволоки в количестве 25—35 % от объема металла сварного шва. Для поддержания оптимальной глубины шлаковой ванны (15—20 мм) периодически порциями добавляют флюс.
![]() |
![]() |
| Рис. 2. Схемы перемещения конца электродной проволоки (показано стрелками) при полуавтоматической ванной сварке горизонтальных стержней арматуры (форма условно не обозначена) |
| а — в начальный период проплавления нижних кромок торцов стержней (к — точка касания электродной проволокой торцов стержней для возбуждения дуги); б —в процессе заполнения разделки стержней; в — на заключительном этапе 1 — флюс; 2 — электродная проволока; 3 —шлаковая ванна; 4 — металл шва |
Дуговую сварку стыковых соединений вертикальных стержней под флюс, как правило, выполняют в съемных медных или графитовых формах. После возбуждения дуги конец электродной проволоки перемещают колебательными движениями по схеме, приведенной на рис. 3. После полного проплавления торца нижнего стержня во избежание подреза верхнего стержня в процессе электросварки регулируют напряжение, снимая его ступенями на 15—25 % (2—4 раза). Режим ванной дуговой сварки стыковых соединений вертикальных стержней аналогичен сварке горизонтальных арматурных стержней.
![]() |
![]() |
| Рис. 3. Схемы перемещения конца электродной проволоки при полуавтоматической ванной сварке стержней со скосом торца нижнего стержня к сварщику (форма условно не обозначена) |
| а — в начальный период проплавления нижней части торца нижнего стержня; б —в процессе проплавления средней части торца нижнего стержня; в — то же, срезанного торца верхнего стержня и заплавления разделки стержней; г — на заключительном этапе |
| 1 — арматурный стержень; 2 — электродная проволока; 3 — флюс; 4— шлаковая ванна; 5 — металл шва |





